SLP
01 - Automatický
splachovač pisoáru
|
Úspora vody | |
|
Nerezové provedení | |
|
Necitlivost na jiné světelné zdroje | |
|
Vysoká hygiena | |
|
Dlouhá životnost | |
|
Možnost instalace naproti sobě | |
|
Nastavení dálkovým ovladačem | |
|
Necitlivost na procházející osoby |
Činnost:
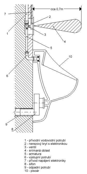
Bezdotykový optoelektronický splachovač pisoáru se skládá z elektronické části s čidlem, nerezového krytu a elektromagnetického
ventilu. Snímací optoelektronická část zařízení, pracující na reflexním principu, reaguje na přítomnost osoby před pisoárem ve vzdálenosti max. 0,7 m od snímače po dobu delší než 7,5 sekundy. Ke spláchnutí pisoáru dojde po odchodu ze snímané zóny. Doba splachování je nastavitelná od 0,5 do 15,5 sekundy. Nastavení citlivosti a doby splachování je možno provést buď pomocí dálkového ovladače SLD 01 nebo tlačítky, umístěnými na desce elektroniky. Zařízení je vybaveno funkcí samočinného splachování po 24 hodinách od posledního sepnutí ventilu. Senzory je možné instalovat naproti sobě , aniž by došlo k vzájemnému ovlivňování činnosti. Pomocí dálkového ovládání SLD 02 je možno provést okamžité spláchnutí pisoáru (např . při úklidu apod.).
Montáž:
Zařízení je určeno k zabudování do stěny nad pisoár. Do předem vysekané instalační kapsy se přivede přívod vody a kabel
od napájecího zdroje. Vstup elektromagnetického ventilu se připojí na přívod vody, výstup pomocí armatury na pisoár. Dále se zazdí čtyři úchytky montážního rámečku, na který se po připojení ventilu a napájení k elektronice nasadí a přišroubuje čelní nerezový kryt. Přesný postup instalace je uveden v návodu na montáž, který je součástí každého výrobku. Zařízení je standardně nastaveno na citlivost 0,5 m a na dobu splachování 3 s.
Technické údaje:
|
Rozměr nerezového krytu (mm) |
174 x 174 x 9 | Dosah | 0,3 až 0,7 m |
| Potřebná instalační kapsa (mm) | 150 x 150 x 80 | Jmenovitý tlak | 0,1 až 0,8 MPa |
| Napájecí napětí | 24 V ss | Průtok | 12 l/min. (inf. údaj) |
| Příkon |
0,8 W (klidový) 10 W (při sepnutí ventilu) |
Vstup vody | vnější závit G3/4“ |
| Výstup vody | nátrubek na hadičku |
Příslušenství:
| Napájecí zdroje | SLZ 01/Z | SLZ 01/Y |
|---|---|---|
| Napájecí napětí | 230 V, 50 Hz | 230 V, 50 Hz |
| Výstupní napětí | stab. 24 V ss | stab. 24 V ss |
| Výkon | 50 W | 25 W |
| Krytí | IP 55 | IP 55 |
| Rozměry | 148 x 103 x 80 mm | 110 x 110 x 60 mm |
| Počet napájených zařízení | max. 5 | max. 3 |
| Armatura | SLA 01 | |
| Vstup | hadička | |
| Výstup | vnitřní závit G 1/2" | |
| Armatura je určena k připojení výstupu elektromagnetického ventilu na pisoár. | ||
| Dálkové ovládání | SLD 01, SLD 02 | |
| Napájení | 3 V ss | |
| Dosah | max. 200 mm | |
Schema zapojení a instalace:

