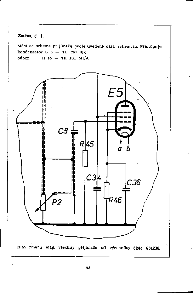
Návod k použití a údržbě přijímače R4, str.93

 

Návod k použití a údržbě přijímače R4, str.93